
|
|
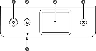
Menghidupkan atau mematikan pencetak. Cabut kord kuasa selepas lampu kuasa dimatikan. |
|
|
Memaparkan skrin utama. |
|
|
Memaparkan menu dan mesej. |
|
|
Memaparkan penyelesaian apabila anda menghadapi masalah. |
|
|
Dihidupkan apabila menerima dokumen yang masih belum dibaca, dicetak, atau disimpan, disimpan dalam memori pencetak. |
* Hanya untuk ET-5170 Series/L6490 Series