
|
|
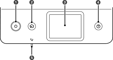
Liga ou desliga a impressora. Desligue o cabo de alimentação após confirmar que o indicador luminoso de alimentação está desligado. |
|
|
Apresenta o ecrã inicial. |
|
|
Apresenta os menus e mensagens. |
|
|
Exibe as soluções quando tem problemas. |
|
|
Acende-se quando documentos recebidos que ainda não foram lidos, impressos ou guardados são guardados na memória da impressora. |
* Apenas para os modelos ET-5170 Series/L6490 Series