
|
|
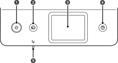
Aktiverar och inaktiverar skrivaren. Dra ur strömkabeln efter att du kontrollerat att strömindikatorn är avstängd. |
|
|
Visar startskärmen. |
|
|
Visar menyer och meddelanden. |
|
|
Visar lösningarna när du har problem. |
|
|
Aktiveras när mottagna dokument som inte är lästa, utskrivna eller sparade finns i skrivarens minne. |
* Endast för ET-5170 Series/L6490 Series