
|
|
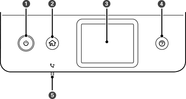
Enciende y apaga la impresora. Desenchufe el cable de alimentación tras comprobar que el indicador de encendido está apagado. |
|
|
Muestra la pantalla de inicio. |
|
|
Muestra menús y mensajes. |
|
|
Muestra las soluciones cuando hay un problema. |
|
|
Se enciende cuando los documentos recibidos que todavía no se han leído, impreso o guardado, se almacenan en la memoria de la impresora. |