
|
|
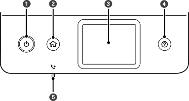
Menyalakan dan mematikan printer. Lepaskan kabel daya setelah memastikan bahwa lampu daya dalam keadaan mati. |
|
|
Menampilkan layar beranda. |
|
|
Menampilkan menu dan pesan. |
|
|
Menampilkan pemecahan masalah yang sedang Anda hadapi. |
|
|
Menyala bila dokumen diterima yang belum dibaca, dicetak, atau disimpan dimasukkan ke dalam memori printer untuk disimpan. |