
|
|
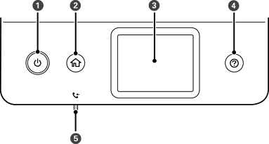
Ieslēdz vai izslēdz printeri. Atvienojiet strāvas vadu pēc tam, kad esat pārliecinājušies, ka elektropadeves lampiņa ir izslēgusies. |
|
|
Tiek parādīts sākuma ekrāns. |
|
|
Parāda izvēlnes un ziņojumus. |
|
|
Parāda risinājumus, kad radušās darbības problēmas. |
|
|
Ieslēdzas, ja printera atmiņā tiek saglabāti saņemtie dokumenti, kas vēl nav izlasīti, izdrukāti vai saglabāti. |