
|
|
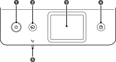
Служит для включения и выключения принтера. Отключайте шнур питания только после того, как индикатор питания погаснет. |
|
|
Отображает начальный экран. |
|
|
Отображает меню и сообщения. |
|
|
Служит для отображения решений при возникновении неполадок. |
|
|
Включается, когда принятые документы, которые еще не были прочитаны, распечатаны или сохранены, сохраняются в памяти принтера. |