
|
|
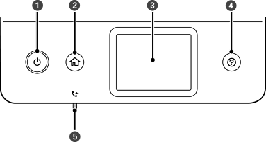
Yazıcıyı açar veya kapatır. Güç ışığının söndüğünü kontrol ettikten sonra güç kablosunu çıkarın. |
|
|
Ana ekranı görüntüler. |
|
|
Menüleri ve mesajları görüntüler. |
|
|
Sorun olduğunda çözümleri görüntüler. |
|
|
Okunmamış, yazdırılmamış veya kaydedilmemiş alınan belgeler yazıcının belleğinde depolandığında yanar. |