> دليل لوحة التحكم > لوحة التحكم

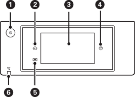
لوحة التحكم

لتشغيل الطابعة أو إيقاف تشغيلها.

افصل سلك الطاقة عند انقطاع الطاقة.

لعرض الشاشة الرئيسية.

لعرض القوائم والرسائل. يمكنك تغيير زاوية لوحة التحكم.

عند عدم وجود عمليات قيد التنفيذ لفترة زمنية معينة‏،  فإن الطابعة تدخل في وضع السكون ويتم إيقاف تشغيل شاشة العرض. انقر على أي مكان في شاشة اللمس لتشغيل شاشة العرض. يؤدي الضغط على زر الطاقة إلى إخراج الطابعة من وضع السكون حسب الإعدادات الحالية.

لعرض شاشة تعليمات.

يمكنك التحقق من حلول المشكلات من هنا.

لتخزين درج إخراج الورق.

يُضيء في حال تخزين المستندات المستلمة التي لم تتم قراءتها‏،  أو طباعتها‏،  أو حفظها بعد في ذاكرة الطابعة.