> Kontrol Paneli Kılavuzu > Kontrol Paneli

Kontrol Paneli

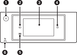
Yazıcıyı açar veya kapatır.

Güç ışığı söndüğünde güç kablosunu çıkarın.

Ana ekranı görüntüler.

Menüleri ve mesajları görüntüler. Kontrol panelinin açısını değiştirebilirsiniz.

Belirli bir süre hiç işlem gerçekleştirilmediğinde, yazıcı uyku moduna girer ve ekran kapanır. Görüntüyü açmak için dokunmatik ekrandaki bir yere dokunun. Geçerli ayarlara bağlı olarak, güç düğmesine bastığınızda yazıcı uyku modundan çıkar.

Yardım ekranını görüntüler.

Buradan sorunlara çözümleri kontrol edebilirsiniz.

Çıkış tepsisini yerine sokar.

Okunmamış, yazdırılmamış veya kaydedilmemiş alınan belgeler yazıcının belleğinde depolandığında yanar.