
|
|
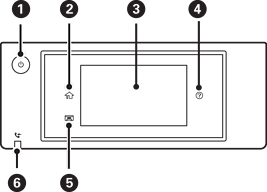
Printeri yandırır və ya söndürür. Enerji işığı sönülü olduqda elektrik naqilini rozetkadan çıxarın. |
|
|
Əsas ekranı göstərir. |
|
|
Menyuları və mesajları göstərir. İdarə panelinin bucağını dəyişə bilərsiniz. Konkret vaxt müddətində heç bir əməliyyat həyata keçirilməzsə, printer yuxu rejiminə daxil olur və displey sönür. Displeyi yandırmaq üçün təmas ekranında istənilən yerə vurun. Cari parametrlərdən asılı olaraq, işəsalma düyməsinin basılması printeri yuxu rejimindən oyadır. |
|
|
Kömək ekranını göstərir. Siz problemlərin həllini buradan yoxlaya bilərsiniz. |
|
|
Çıxış altlığını saxlayır. |
|
|
Hələ oxunmamış, çap edilməmiş və ya yaddaşda saxlanmamış qəbul edilmiş sənədlər printerin yaddaşında saxlanarkən yanır. |