
|
|
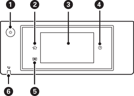
Encén o apaga la impressora. Desconnecteu el cable d'alimentació quan l'indicador d'encesa estigui apagat. |
|
|
Mostra la pantalla d'inici. |
|
|
Mostra menús i missatges. Podeu canviar l'angle del tauler de control. Si no es realitza cap operació durant un període de temps determinat, la impressora passa al mode de suspensió i la pantalla s'apaga. Toqueu qualsevol punt de la pantalla tàctil per encendre-la. Segons la configuració actual, en prémer el botó d'encesa, la impressora sortirà del mode de suspensió. |
|
|
Mostra la pantalla Ajuda. Podeu comprovar les solucions als problemes des d'aquí. |
|
|
Desa la safata de sortida. |
|
|
S'encén quan els documents rebuts que encara no s'han llegit, imprès o desat s'emmagatzemen a la memòria de la impressora. |