> Vejledning til kontrolpanel > Kontrolpanel

Kontrolpanel

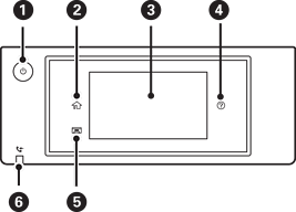
Tænder eller slukker for printeren.

Tag strømkablet ud, når strømindikatoren er slukket.

Viser startskærmen.

Viser menuer og meddelelser. Du kan ændre kontrolpanelets vinkel.

Når der ikke foretages noget i et bestemt stykke tid, går printeren i dvaletilstand, og skærmen slukkes. Tryk et vilkårligt sted på skærmen for at tænde for skærmen. Afhængigt af de aktuelle indstillinger kan du vække printeren fra dvaletilstand ved at trykke på tænd/sluk-knappen.

Viser skærmen Hjælp.

Du kan kontrollere løsninger på problemer herfra.

Gemmer udbakken.

Tændes, når modtagne dokumenter, som endnu ikke er blevet læst, udskrevet eller gemt, er gemt i printerens hukommelse.