
|
|
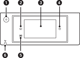
Dient zum Ein- bzw. Ausschalten des Druckers. Ziehen Sie den Netzstecker, wenn die Betriebsanzeige aus ist. |
|
|
Zeigt die Startseite an. |
|
|
Zeigt Menüs und Meldungen an. Sie können den Winkel des Bedienfeldes ändern. Wenn für längere Zeit keine Vorgänge durchgeführt werden, wechselt der Drucker in den Schlafmodus und das Display wird abgeschaltet. Tippen Sie auf das Bedienfeld, um das Display wieder einzuschalten. Abhängig von den aktuellen Einstellungen weckt das Drücken des Netzschalters den Drucker aus dem Ruhezustand. |
|
|
Zeigt den Bildschirm Hilfe an. Sie können hier Lösungen für Probleme überprüfen. |
|
|
Schließt das Ausgabefach. |
|
|
Wird eingeschaltet, wenn empfangene Dokumente, die noch nicht gelesen, gedruckt oder gespeichert wurden, im Druckerspeicher abgelegt werden. |