
|
|
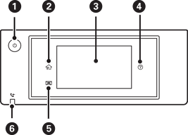
प्रिंटर चालू या बंद करता है। जब पावर लाइट बंद हो, तो पावर कॉर्ड अनप्लग करें। |
|
|
होम स्क्रीन प्रदर्शित करता है। |
|
|
मेनू और संदेश दर्शाता है। आप कंट्रोल पैनल का कोण बदल सकते हैं। यदि किसी विशिष्ट समयावधि के लिए कोई परिचालन नहीं किया जाता है, तो प्रिंटर स्लीप मोड में चला जाता है और डिस्प्ले बंद हो जाता है। डिस्प्ले चालू करने के लिए टच स्क्रीन पर कहीं भी टैप करें। मौजूदा सेटिंग पर रखकर पावर बटन दबाने से प्रिंटर स्लीप मोड से बाहर आ जाता है। |
|
|
मदद स्क्रीन प्रदर्शित करता है। आप यहां पर समस्याओं के लिए समाधान की जांच कर सकते हैं। |
|
|
आउटपुट ट्रे को संग्रहीत करता है। |
|
|
प्रिंटर के मैमोरी में संग्रहित ऐसे प्राप्त दस्तावेज़ जिन्हें अभी तक पढ़ा नहीं गया हो, प्रिंट नहीं किया गया हो, सहेजा नहीं गया हो, ऑन हो जाते हैं। |