> Návod k ovládaciemu panelu > Ovládací panel

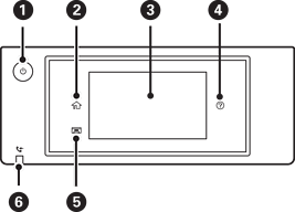
Ovládací panel

Umožňuje zapnúť alebo vypnúť tlačiareň.

Napájací kábel odpojte, keď kontrolka napájania zhasne.

Zobrazuje domovskú obrazovku.

Zobrazuje ponuky a hlásenia. Môžete zmeniť uhol ovládacieho panela.

Keď sa po určitú dobu nevykonajú žiadne činnosti, tlačiareň prejde do režimu spánku a obrazovka sa vypne. Klepnutím kdekoľvek na obrazovku zapnete displej. V závislosti od aktuálnych nastavení prebudí stlačenie vypínača tlačiareň z režimu spánku.

Zobrazuje obrazovku Pomocník.

Odtiaľto môžete skontrolovať riešenia problémov.

Zatvára výstupný zásobník.

Svieti, ak sú v pamäti zariadenia uložené prijaté dokumenty, ktoré ešte neboli prečítané, vytlačené alebo uložené.