> Dolandyryş paneli gollanmasy > Dolandyryş paneli

Dolandyryş paneli

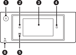
Printeriň toguny açýar ýa-da öçürýär.

Tok şnuruny tok çyrasy sönük wagty sogruň.

Öý ekrany görkezýär.

Menýulary we hatlary görkezýär. Dolandyryş paneliniň rakursyny üýtgedip bilersiňiz.

Belli bir wagtlap hiç hili amal ýerine ýetirilmese, printer uky tertibine girýär we displeý ýapylýar. Displeýi açmak üçin, duýgur ekranyň bir ýerine degiň. Häzirki sazlamalara baglylykda, tok düwmesini basmak printeri uky tertibinden oýarýar.

Kömek ekranyny görkezýär.

Şu ýerden problemalaryň çözgütlerini barlap bilersiňiz.

Çykyş lotogyny ýerine salýar.

Printeriň ýadynda heniz okalmadyk, çap edilmedik ýa-da ýazdyrylmadyk alnan resminamalar bar bolanda, açylýar.