> Guia do Painel de Controlo > Painel de controlo

Painel de controlo

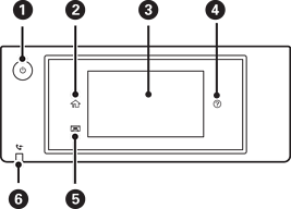
Liga ou desliga a impressora.

Desligue o cabo de alimentação quando o indicador luminoso de alimentação estiver desligado.

Apresenta o ecrã inicial.

Apresenta os menus e mensagens. Pode alterar a inclinação do painel de controlo.

Quando não forem realizadas operações por um período específico de tempo, a impressora entra no modo de hibernação e o ecrã desliga-se. Toque em qualquer lugar no ecrã tátil para ativar o ecrã. De acordo com as definições atuais, ao pressionar o botão de alimentação, a impressora sai do modo de suspensão.

Exibe o ecrã Ajuda.

Pode procurar soluções para problemas a partir daqui.

Guarda o tabuleiro de saída.

Acende-se quando documentos recebidos que ainda não foram lidos, impressos ou guardados são guardados na memória da impressora.