
|
|
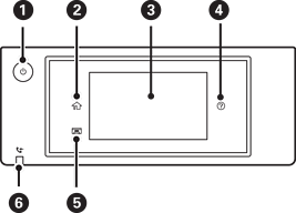
Служит для включения и выключения принтера. Отключайте шнур питания только после того, как индикатор питания погаснет. |
|
|
Отображает начальный экран. |
|
|
Отображает меню и сообщения. Можно изменить угол наклона панели управления. Если в течение определенного времени никакие операции на принтере не выполняются, он переходит в спящий режим, а дисплей отключается. Нажмите в любом месте сенсорного экрана, чтобы включить дисплей. В зависимости от текущих настроек нажатие на кнопку питания может выводить принтер из спящего режима. |
|
|
Отображение экрана Справка. Здесь можно просмотреть способы устранения проблем. |
|
|
Закрывает выходной лоток. |
|
|
Включается, когда принятые документы, которые еще не были прочитаны, распечатаны или сохранены, сохраняются в памяти принтера. |