
|
|
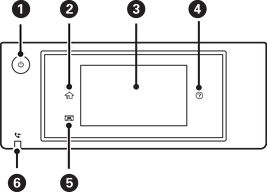
Turns the printer on or off. Unplug the power cord when the power light is off. |
|
|
Displays the home screen. |
|
|
Displays menus and messages. You can change the angle of the control panel. When no operations are performed for a specific length of time, the printer enters sleep mode and the display turns off. Tap anywhere on the touch screen to turn on the display. Depending on the current settings, pressing the power button wakes the printer from sleep mode. |
|
|
Displays the Help screen. You can check solutions to problems from here. |
|
|
Stores the output tray. |
|
|
Turns on when received documents that have not yet been read, printed, or saved, are stored in the printer's memory. |