> Guía del panel de control > Panel de control

Panel de control

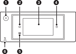
Enciende y apaga la impresora.

Desenchufe el cable de alimentación cuando la luz de encendido esté apagada.

Muestra la pantalla de inicio.

Muestra menús y mensajes. Puede cambiar el ángulo del panel de control.

Cuando no se usa la impresora durante un período de tiempo específico, ésta entra en el modo de reposo y la pantalla se apaga. Pulse en cualquier parte de la pantalla táctil para activarla. En función de la configuración actual, cuando se pulsa el botón de encendido la impresora sale del modo de suspensión.

Muestra la pantalla Ayuda.

Aquí puede buscar soluciones a los problemas.

Guarda la bandeja de salida.

Se enciende cuando los documentos recibidos que todavía no se han leído, impreso o guardado, se almacenan en la memoria de la impresora.