
|
|
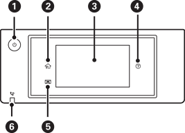
چاپگر را روشن و خاموش میکند. هنگامیکه چراغ روشن-خاموش در حالت خاموش است، سیم برق را از پریز جدا کنید. |
|
|
صفحه اصلی را نشان میدهد. |
|
|
منوها و پیامها را نشان میدهد. میتوانید زاویه پانل کنترل را تغییر دهید. اگر در مدت معینی کاری انجام نگیرد، چاپگر وارد حالت خواب و نمایشگر خاموش میشود. برای روشن کردن نمایشگر به صفحه لمسی ضربه بزنید. بسته به تنظیمات فعلی، با فشار دادن دکمه روشن/خاموش چاپگر از حالت خواب خارج میشود. |
|
|
صفحه راهنما را نشان میدهد. راهکارهای برطرفسازی هر مشکل را میتوانید در اینجا بررسی کنید. |
|
|
سینی خروجی را داخل میبرد. |
|
|
هنگامی که اسناد دریافتی خوانده نشده یا چاپ یا ذخیره نشده در حافظه رایانه ذخیره میشوند، روشن میشود. |