
|
|
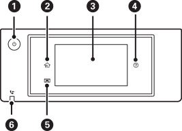
Menyalakan dan mematikan printer. Lepaskan kabel daya saat lampu daya dalam keadaan mati. |
|
|
Menampilkan layar beranda. |
|
|
Menampilkan menu dan pesan. Anda bisa mengubah kemiringan panel kontrol. Jika tidak dioperasikan selama jangka waktu tertentu, printer akan masuk ke mode tidur dan layar akan mati. Sentuh sembarang titik di layar sentuh untuk mengaktifkan layar. Tergantung pada pengaturan yang diterapkan saat ini, printer akan aktif dari mode tidur saat tombol daya ditekan. |
|
|
Menampilkan layar Bantuan. Anda dapat mengetahui solusi masalah dari sini. |
|
|
Menyimpan baki keluaran. |
|
|
Menyala bila dokumen diterima yang belum dibaca, dicetak, atau disimpan dimasukkan ke dalam memori printer untuk disimpan. |