
|
|
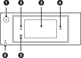
Slår skriveren på eller av. Koble fra strømkabelen når strømlyset er av. |
|
|
Viser startsiden. |
|
|
Viser menyer og meldinger. Du kan endre vinkel på kontrollpanelet. Når ingen operasjoner utføres på en viss tid går skriveren inn i hvilemodus og skjermen slår seg av. Trykk hvor som helst på berøringsskjermen for å slå på skjermen. Avhengig av nåværende innstillinger, vil skriveren gå ut av hvilemodus ved å trykke på av/på-knappen. |
|
|
Viser skjermbildet Hjelp. Du kan sjekke problemløsninger her. |
|
|
Lagrer utskriftsskuffen. |
|
|
Slås på når mottatte dokumenter som ennå ikke har blitt lest, utskrevet eller lagret, lagres i skriverens minne. |