
|
|
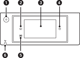
Huwasha na kuzima kichapishi. Chomoa waya ya nishati wakati taa ya nishati imezimwa. |
|
|
Onyesha skrini ya mwanzo. |
|
|
Huonyesha menyu na ujumbe. Unaweza kubadilisha mkao wa paneli dhibiti. Wakati hakuna operesheni zinazotekelezwa kwa kipindi bainifu cha muda, kichapishi kinaingia modi ya kulala na onyesho linazima. Donoa mahali popote kwenye skrini mguso ili kuwasha onyesho. Kulingana na mipangilio ya sasa, kubonyeza kitufe cha nishati huwasha kichapishi kutoka kwenye modi ya kulala. |
|
|
Huonyesha skrini ya Msaada. Unaweza kuangalia suluhisho za matatizo kutoka hapa. |
|
|
Huhifadhi trei towe. |
|
|
Huwaka wakati hati zilizopokewa ambazo bado hazijasomwa, kuchapishwa, au kuhifadhiwa, zimehifadhiwa kwenye kumbukumbu ya printa. |