
|
|
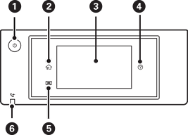
Printerni yoqadi yoki o‘chiradi. Quvvat chirog‘i o‘chganda ta’minot shnurini rozetkadan uzing. |
|
|
Bosh ekranni namoyish qiladi. |
|
|
Menyular va xabarlarni namoyish qiladi. Boshqaruv paneli burchagini o‘zgartirishingiz mumkin. Ma’lum vaqt davomida hech qanday harakat bajarilmagan hollarda printer uyqu rejimiga kiradi va displey o‘chadi. Displeyni yoqish uchun sensorli ekranning istalgan joyiga teging. Joriy sozlamalarga bog‘liq ravishda quvvat tugmasini bosish printerni uyqu rejimidan uyg‘otadi. |
|
|
Yordam ekranini ko‘rsatadi. Bu yerdan muammolarga yechimlarni ko‘rishingiz mumkin. |
|
|
Chiqqan hujjat tortmasi qo‘yiladi. |
|
|
Olingan hujjatlar hali o‘qilmagan, chop etilmagan, saqlanmagan holda printer xotirasida turganida yonadi. |