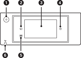
Bảng điều khiển

Bật hoặc tắt máy in.

Rút phích cắm điện khi đèn nguồn tắt.

Hiển thị màn hình chính.

Hiển thị các menu và thông báo. Bạn có thể thay đổi góc của bảng điều khiển.

Khi không có hoạt động nào được thực hiện trong một khoảng thời gian cụ thể, máy in sẽ chuyển sang chế độ ngủ và màn hình sẽ tắt. Nhấn vào bất kỳ nơi nào trên màn hình cảm ứng để bật màn hình. Tùy thuộc vào cài đặt hiện tại, nhấn nút nguồn sẽ đánh thức máy in từ chế độ ngủ.

Hiển thị màn hình Trợ giúp.

Bạn có thể xem các giải pháp giải quyết sự cố từ đây.

Đẩy khay đầu ra vào.

Bật khi các tài liệu đã nhận — chưa được đọc, in hoặc lưu — được lưu trữ vào bộ nhớ máy in.