
|
|
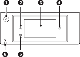
Tænder eller slukker for printeren. Tag strømkablet ud, når strømindikatoren er slukket. |
|
|
Viser startskærmen. |
|
|
Viser menuer og meddelelser. Du kan ændre kontrolpanelets vinkel. Når der ikke foretages noget i et bestemt stykke tid, går printeren i dvaletilstand, og skærmen slukkes. Tryk et vilkårligt sted på skærmen for at tænde for skærmen. Afhængigt af de aktuelle indstillinger kan du vække printeren fra dvaletilstand ved at trykke på tænd/sluk-knappen. |
|
|
Viser skærmen Hjælp. Du kan kontrollere løsninger på problemer herfra. |
|
|
Gemmer udbakken. |
|
|
Tændes, når modtagne dokumenter, som endnu ikke er blevet læst, udskrevet eller gemt, er gemt i printerens hukommelse. |