
|
|
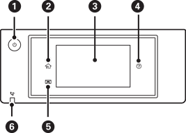
A nyomtató ki- és bekapcsoló gombja. Húzza ki a tápkábelt, amikor a jelzőfény kialszik. |
|
|
Főképernyő megjelenítése. |
|
|
Menük és üzenetek megjelenítése. Beállíthatja, hogy milyen szögben álljon a vezérlőpanel. Ha bizonyos ideig nem végeznek műveletet az érintőképernyőn, a nyomtató alvó üzemmódba lép, és a kijelző kikapcsol. A kijelző bekapcsolásához koppintson bárhová az érintőképernyőn. A jelenlegi beállításoktól függően a tápkapcsoló gomb megnyomásával ébressze fel a nyomtatót az alvó üzemmódból. |
|
|
A(z) Súgó képernyőt jeleníti meg. Itt problémamegoldási lehetőségeket találhat. |
|
|
Csukja be a kimeneti tálcát. |
|
|
Akkor jelenik meg, ha a készülék memóriájában olyan beérkezett dokumentumok vannak, amelyeket még nem olvasott el, nem nyomtatott ki vagy nem mentett el. |