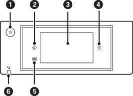
開啟或關閉印表機的電源。
電源指示燈號熄滅時,請拔下電源連接線。
顯示主畫面。
顯示功能表及訊息。您可變更控制面板角度。
若在特定時間內未執行操作,印表機會進入睡眠模式,顯示畫面會關閉。點選觸控式螢幕的任何位置可開啟顯示畫面。視乎當前設定,按下電源鍵以將印表機從睡眠模式喚醒。
顯示 [說明] 畫面。
可在此檢查問題的解決方案。
存放出紙托盤。
在尚未讀取、列印或儲存的已接收文件儲存至印表機的記憶體時亮起。