
|
|
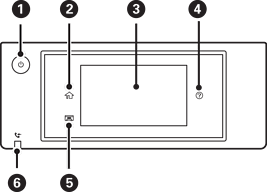
Увімкнення або вимкнення принтера. Вимкніть кабель живлення після того, як згасне індикатор живлення. |
|
|
Відображає головний екран. |
|
|
Відображає меню та повідомлення. Можна змінити кут панелі керування. Якщо операції не виконуються протягом певного часу, принтер переходить у режим сну та екран вимикається. Торкніться будь-якого місця екрана, щоб увімкнути його. Залежно від поточних налаштувань, натискання кнопки живлення виведе принтер з режиму сну. |
|
|
Відображає екран Допомога. Тут ви можете дізнатися, як усувати проблеми. |
|
|
Зберігає вихідний лоток. |
|
|
Вмикається, коли у пам’яті принтера зберігаються отримані документи, які ще не було прочитано, роздруковано або збережено. |