
|
|
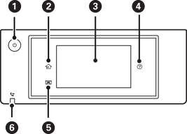
Uključivanje ili isključivanje pisača. Kabel za napajanje izvucite iz zidne utičnice kada lampica napajanja ne svijetli. |
|
|
Prikaz početnog zaslona. |
|
|
Prikaz izbornika i poruka. Možete promijeniti nagib upravljačke ploče. Kad se kroz određeno vremensko razdoblje ne obavljaju radnje, pisač ulazi u stanje mirovanja i zaslon se gasi. Dodirnite bilo gdje na zaslonu kako biste ga uključili. Ovisno o trenutačnim postavkama, pritiskanje gumba za napajanje aktivira pisač iz modusa mirovanja. |
|
|
Prikazuje zaslon Pomoć. Odavde možete provjeriti rješenja problema. |
|
|
Pohranjuje izlazni pretinac. |
|
|
Uključuje se ako primljeni dokumenti još nisu pročitani, ispisani, spremljeni ili pohranjeni u memoriju pisača. |