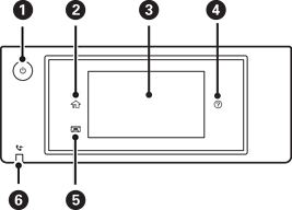
操作パネル

電源を入/切します。

電源コードを抜くときは、電源ランプが消灯していることを確認してから抜いてください。

ホーム画面を表示します。

項目やメッセージを表示します。操作パネルの角度は変更できます。

一定の時間以上操作しないとスリープモードになり、表示が消えます。タッチパネルをタップすると復帰します。設定によっては、電源ボタンを押すことにより、スリープモードから元の明るさに復帰します。

ヘルプ] 画面を表示します。

困ったときの対処方法やプリンターの基本操作手順が確認できます。

排紙トレイを収納します。

未処理(未読や印刷してない、未保存など)の受信文書があるときに点灯します。