
|
|
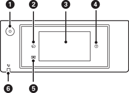
Įjungiamas arba išjungiamas spausdintuvas. Užgesus maitinimo lemputei atjunkite maitinimo laidą. |
|
|
Atidaromas pradžios ekranas. |
|
|
Pateikiami meniu ir pranešimai. Jūs galite keisti valdymo skydelio kampą. Jei tam tikrą laiko tarpą neatliekama jokia operacija, spausdintuvas pereina į miego režimą ir ekranas išsijungia. Palieskite bet kur jutikliniame ekrane, norėdami įjungti ekraną. Priklausomai nuo tuo metu nustatytų nuostatų, paspaudus maitinimo mygtuką spausdintuve išjungiamas miego režimas. |
|
|
Rodomas Pagalba ekranas. Problemų sprendimus galite rasti čia. |
|
|
Išsaugo išvesties dėklą. |
|
|
Užsidega, kai priimti ir dar neskaityti, neišspausdinti arba neįrašyti dokumentai saugomi spausdintuvo atmintyje. |