
|
|
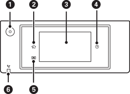
Принтерийг асааж унтраана. Тэжээлийн гэрэл унтарсан үед тэжээлийн залгуурыг салгана. |
|
|
Үндсэн дэлгэцийг харуулна. |
|
|
Цэс, мэдээллийг харуулна. Та хяналтын самбарын харагдах өнцгийг өөрчилж болно. Тодорхой хугацаанд ямар ч үйлдэл хийгдээгүй бол принтер идэвхгүй горимд орж дэлгэц унтарна. Мэдрэгчтэй дэлгэцийн хаа нэгтээ дарж дэлгэцийг асаана уу. Одоогийн тохиргооноос хамаараад асаах товчлуурыг дарах нь принтерийг унтах горимоос сэрээнэ. |
|
|
Тусламж дэлгэц гарч ирнэ. Асуудлын шийдлийг эндээс шалгаж болно. |
|
|
Гаралтын тэвшийг хадгална. |
|
|
Хараахан уншиж, хэвлэж, хадгалж амжаагүй хүлээн авсан баримтууд принтерийн санах ойд хадгалагдахад асна. |