
|
|
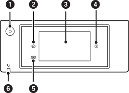
เปิดหรือปิดเครื่องพิมพ์ ถอดปลั๊กสายไฟเมื่อไฟบ่งชี้ของปุ่มเปิด/ปิดดับแล้ว |
|
|
แสดงผลหน้าจอหลัก |
|
|
แสดงผลเมนูและข้อความ คุณสามารถเปลี่ยนมุมของแผงควบคุมได้ หากไม่มีการทำงานใดๆ เป็นช่วงระยะเวลาเฉพาะค่าหนึง เครื่องพิมพ์จะเข้าสู่โหมดสลีป และจอแสดงผลจะปิดลง แตะที่ใดๆ บนหน้าจอสัมผัสเพื่อเปิดจอแสดงขึ้น กดปุ่มเปิด/ปิดเพื่อปลุกเครื่องพิมพ์จากโหมดสลีป ทั้งนี้ขึ้นอยู่กับการตั้งค่าปัจจุบัน |
|
|
แสดงผลหน้าจอ วิธีใช้ คุณสามารถตรวจสอบแนวทางแก้ไขปัญหาได้จากที่นี่ |
|
|
จัดเก็บถาดรับกระดาษออก |
|
|
เปิดเมื่อเอกสารที่ได้รับซึ่งยังไม่ได้อ่าน พิมพ์ หรือบันทึกถูกจัดเก็บไว้ในหน่วยความจำของเครื่องพิมพ์ |