
|
|
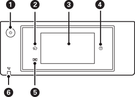
Включва или изключва принтера. Изключете захранващия кабел от електрическия контакт само след като светлинният индикатор за захранването се изключи. |
|
|
Показва началния екран. |
|
|
Показва менюта и съобщения. Можете да промените ъгъла на контролния панел. Когато няма извършени операции за определен период от време, принтерът влиза в режим на заспиване и дисплеят изключва. Докоснете на произволно място на сензорния екран, за да включите дисплея. В зависимост от текущите настройки, натискането на бутона за захранване активира принтера от режим на заспиване. |
|
|
Показва екрана Помощ. Можете да проверите за решения на проблеми оттук. |
|
|
Съхранява изходната тава. |
|
|
Включва се, когато документи, получени, но все още непрочетени, отпечатани или запазени, се съхраняват в паметта на принтера. |