
|
|
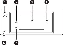
Permet d’allumer ou d’éteindre l’imprimante. Débranchez le cordon d’alimentation lorsque le voyant d’alimentation est éteint. |
|
|
Affiche l’écran d’accueil. |
|
|
Affiche les menus et les messages. Vous pouvez modifier l’inclinaison du panneau de commande. Lorsqu’aucune opération n’est effectuée pendant un certain délai, l’imprimante passe en mode veille et l’écran s’éteint. Pour activer l’écran, appuyez n’importe où sur l’écran tactile. En fonction des réglages actuels, appuyer sur le bouton d’alimentation fait sortir l’imprimante du mode veille. |
|
|
Affiche l’écran Aide. Vous pouvez consulter les solutions aux problèmes d’ici. |
|
|
Rétracte le bac de sortie. |
|
|
S’allume lorsque les documents reçus qui n’ont pas encore été lus, imprimés ou enregistrés sont stockés dans la mémoire de l’imprimante. |