
|
|
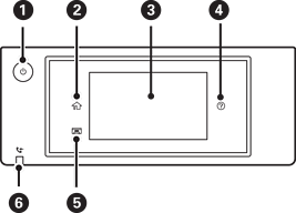
מכבה את המדפסת או מדליק אותה. נתק את כבל החשמל מהשקע רק כשמחוון ההפעלה כבה. |
|
|
מציג את מסך הבית. |
|
|
מציג תפריטים והודעות. באפשרותך לשנות את זווית לוח הבקרה. כשלא מבצעים אף פעולה במשך פרק זמן מסוים, המדפסת עוברת למצב שינה והמסך כבה. אפשר להקיש על מסך המגע כדי להדליק אותו. ייתכן שגם לחיצה על לחצן ההפעלה תוציא את המדפסת ממצב שינה, בהתאם להגדרות הקיימות. |
|
|
מציג את מסך עזרה. מכאן תוכל לבדוק פתרונות לבעיות. |
|
|
מאחסן את מגש הפלט. |
|
|
נדלק כשהמסמכים שהתקבלו עדיין לא נקראו, הודפסו או נשמרו ומאוחסנים בזיכרון של המדפסת. |