
|
|
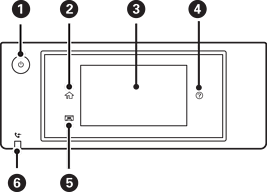
Menghidupkan atau mematikan pencetak. Cabut kord kuasa apabila lampu kuasa dimatikan. |
|
|
Memaparkan skrin utama. |
|
|
Memaparkan menu dan mesej. Anda boleh mengubah sudut panel kawalan. Apabila tiada operasi dilakukan untuk satu tempoh masa tertentu, pencetak akan memasuki mod tidur dan paparan dimatikan. Ketik di mana-mana sahaja pada skrin sentuh untuk menghidupkan paparan. Bergantung pada tetapan semasa, tindakan menekan butang kuasa akan membangkitkan pencetak daripada mod tidur. |
|
|
Memaparkan skrin Bantuan. Anda boleh menyemak penyelesaian masalah dari sini. |
|
|
Menyimpan dulang output. |
|
|
Dihidupkan apabila menerima dokumen yang masih belum dibaca, dicetak, atau disimpan, disimpan dalam memori pencetak. |