
|
|
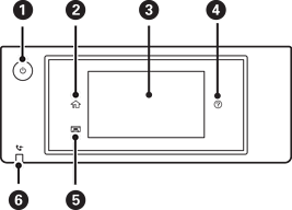
Włączenie lub wyłączenie drukarki. Przewód zasilający należy odłączyć, gdy zgaśnie kontrolka zasilania. |
|
|
Umożliwia wyświetlanie ekranu głównego. |
|
|
Wyświetlenie menu i komunikatów. Kąt nachylenia panelu sterowania można zmieniać. Jeśli przez pewien okres nie są wykonywane żadne działania, drukarka przełącza się w tryb uśpienia. Wyświetlacz jest wyłączany. Dotknij w dowolnym miejscu ekranu, aby włączyć wyświetlacz. W zależności od bieżących ustawień naciśnięcie przycisku zasilania powoduje wyłączenie trybu uśpienia drukarki. |
|
|
Wyświetlenie ekranu Pomoc. Na nim można sprawdzić rozwiązania problemów. |
|
|
Umożliwia chowanie tacy wyjściowej. |
|
|
Włącza się, gdy w pamięci drukarki przechowywane są odebrane dokumenty, które jeszcze nie zostały odczytane, wydrukowane ani zapisane. |