
|
|
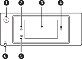
Uključivanje ili isključivanje štampača. Isključite kabl za napajanje kada je lampica indikatora isključena. |
|
|
Prikazuje početni ekran. |
|
|
Prikazuje menije i poruke. Možete promeniti ugao kontrolne table. Kada se određeno vreme ne izvrši nijedna operacija, štampač ulazi u režim mirovanja i ekran se gasi. Dodirnite bilo koji deo dodirnog ekrana da biste uključili prikaz. U zavisnosti od trenutnih podešavanja, pritiskom na dugme za uključivanje štampač izlazi iz režima mirovanja. |
|
|
Prikazuje ekran Pomoć. Ovde možete da proverite rešenja za probleme. |
|
|
Skladišti izlazni podmetač. |
|
|
Uključuje se kada su primljeni dokumenti koji još uvek nisu pročitani, odštampani ili sačuvani uskladišteni u memoriju štampača. |