> 控制面板使用說明 > 控制面板

控制面板

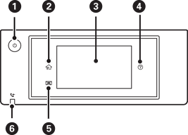
開啟或關閉印表機的電源。

電源指示燈號熄滅時,請拔下電源連接線。

顯示主畫面。

顯示功能表及訊息。您可變更控制面板角度。

若在特定時間內未執行操作,印表機會進入睡眠模式,顯示畫面會關閉。點選觸控式螢幕的任何位置可開啟顯示畫面。視乎當前設定,按下電源鍵以將印表機從睡眠模式喚醒。

顯示 [說明] 畫面。

可在此檢查問題的解決方案。

存放出紙托盤。

在尚未讀取、列印或儲存的已接收文件儲存至印表機的記憶體時亮起。