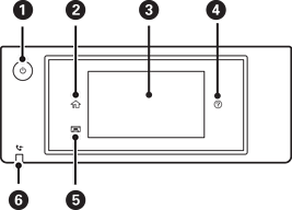
แผงควบคุม

เปิดหรือปิดเครื่องพิมพ์

ถอดปลั๊กสายไฟเมื่อไฟบ่งชี้ของปุ่มเปิด/ปิดดับแล้ว

แสดงผลหน้าจอหลัก

แสดงผลเมนูและข้อความ คุณสามารถเปลี่ยนมุมของแผงควบคุมได้

หากไม่มีการทำงานใดๆ เป็นช่วงระยะเวลาเฉพาะค่าหนึง เครื่องพิมพ์จะเข้าสู่โหมดสลีป และจอแสดงผลจะปิดลง แตะที่ใดๆ บนหน้าจอสัมผัสเพื่อเปิดจอแสดงขึ้น กดปุ่มเปิด/ปิดเพื่อปลุกเครื่องพิมพ์จากโหมดสลีป ทั้งนี้ขึ้นอยู่กับการตั้งค่าปัจจุบัน

แสดงผลหน้าจอ วิธีใช้

คุณสามารถตรวจสอบแนวทางแก้ไขปัญหาได้จากที่นี่

จัดเก็บถาดรับกระดาษออก

เปิดเมื่อเอกสารที่ได้รับซึ่งยังไม่ได้อ่าน พิมพ์ หรือบันทึกถูกจัดเก็บไว้ในหน่วยความจำของเครื่องพิมพ์