
|
|
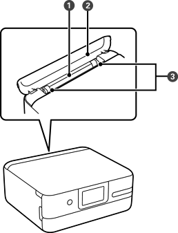
手差し給紙 |
印刷用紙を1枚セットします。 |
|
|
手差し給紙カバー |
内部に異物が入ることを防ぎます。通常は閉めておいてください。 |
|
|
用紙ガイド |
用紙をまっすぐ給紙するためのガイドです。用紙の側面に合わせてください。 |

|
|
スキャナーユニット |
原稿をスキャンします。インクの補充や内部に詰まった用紙を取り除くときに開けます。通常は閉めておいてください。 |
|
|
操作パネル |
プリンターの状態を表示したり、メンテナンスや設定をしたりします。 |
|
|
|
電源を入/切します。 電源コードを抜くときは、電源ランプが消灯していることを確認してから抜いてください。 |
|
|
インクお知らせLED |
プリンターの電源を入れると点灯します。インク補充が必要になると点滅します。インクを補充して、インク残量を更新してください。 |
|
|
インクタンクキャップ |
インクタンクにインクを補充するときに開けます。 |
|
|
インクタンク |
プリントヘッドにインクを供給します。 |
|
|
メンテナンスボックスカバー |
メンテナンスボックスを交換するときに取り外します。メンテナンスボックスは、クリーニング時や印刷時に排出される廃インクを溜める容器です。 |

|
|
前面カバー |
用紙トレイに用紙をセットするときに開けます。 |
|
|
排紙トレイ |
印刷された用紙を保持します。手で引き出し、収納も手で押して戻してください。 |
|
|
用紙トレイ |
印刷用紙をセットします。 |
|
|
用紙ガイド |
用紙をまっすぐ給紙するためのガイドです。用紙の側面に合わせてください。 |
|
|
延長用紙ガイド |
A4より長いサイズの用紙をセットするときに引き出します。 |

|
|
原稿カバー |
原稿の読み取り時に外部の光を遮ります。 |
|
|
原稿台 |
原稿をセットします。 |
|
|
外部機器接続用USBポート |
外部記憶装置やPictBridge対応機器を接続します。 |