
|
|
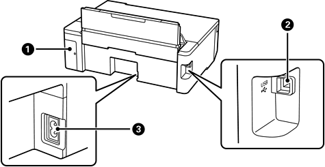
Texniki xidmət qutusunun örtüyü |
Texniki qulluq qutusunu əvəzləyən zaman çıxarın. Texniki xidmət qutusunu çıxarmaq üçün düzbaşlı vintaçan lazımdır. Texniki qulluq qutusu təmizləyən və ya çap zamanı kiçik miqdarda qalıq mürəkkəb toplayan konteynerdi. |
|
|
USB portu |
Kompüterə qoşmaq üçün USB kabelini birləşdirir. |
|
|
AC girişi |
Elektrik kabeli qoşulur. |