
|
|
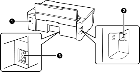
Капак на кутията за поддръжка |
Отстранете при смяна на кутията за поддръжка. Нуждаете се от плоска отвертка, за да отстраните контейнер за отпадъчно мастило. Кутията за поддръжка представлява контейнер, който събира много малко количество излишно мастило по време на почистване или печат. |
|
|
USB порт |
За свързване на USB кабел за връзка с компютър. |
|
|
Вход за променливотоково захранване |
За свързване на захранващия кабел. |