Rückseite

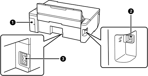
Wartungskastenabdeckung

Beim Austauschen des Wartungskastens entfernen. Sie benötigen zum Entfernen des Wartungskastens einen Schlitzschraubendreher. Der Wartungskasten ist ein Behälter, der beim Reinigen oder Drucken überschüssige Tinte auffängt.

USB-Anschluss

Anschluss für ein USB-Kabel für die Verbindung mit einem Computer.

Netzeingang

Anschluss für das Netzkabel.