
|
|
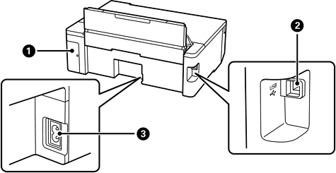
Huoltorasian kansi |
Avaa, kun vaihdat huoltorasian. Tarvitset huoltorasian irrottamiseen litteäpäisen ruuvitaltan. Huoltorasia on säiliö, joka kerää puhdistuksen tai tulostuksen aikana hyvin pieniä määriä ylijäävää mustetta. |
|
|
USB-portti |
Käytetään tietokoneen liittämiseen USB-kaapelilla. |
|
|
Virtaliitin (AC) |
Virtajohdon liittämiseen. |