
|
|
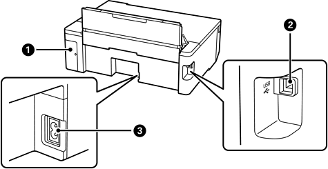
Poklopac kutije za održavanje |
Uklonite kod zamjene kutije za održavanje. Za uklanjanje kutije za održavanje trebat će vam odvijač plosnate glave. Kutija za održavanje je spremnik u kojem se prikuplja vrlo mala količina viška tinte tijekom čišćenja ili ispisivanja. |
|
|
USB ulaz |
Povezuje USB kabel radi spajanja s računalom. |
|
|
AC ulaz |
Služi kao priključak za kabel za napajanje. |